| NEC 12T |
mm |
pulgadas |
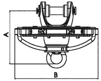
| A |
Ojillo: 157
Manilla: 234 |
Ojillo: 6 3/16’’
Manilla: 9/732’’ |
| B |
213 |
8 25/64’’ |
| C |
Ojillo: 157
Manilla: 234 |
Ojillo: 6 3/16’’
Manilla: 9/732’’ |
| D
(Ø quitavueltas) |
163 |
6 27/64’’ |
| E |
215 |
8 15/32’’ |
| F |
290 |
11 7/16’’ |
| Ø cabo anti-torsión |
16 ó 25 |
5/8’’ a 1’’ |
| Ø máximo de la driza (si lleva polea de desmultiplicación) |
14 |
9/16’’ |
|