| - |
Estándar |
Con opción de cubre tensor |
| - |
mm |
pulgadas |
mm |
pulgadas |
|
A
|
68 |
2' 43/64'' |
Ver estándar |
|
B
|
10 |
13/32'' |
Ver estándar |
|
C
|
28 |
17/64'' |
Ver estándar |
|
E
|
140 |
5' 33/64'' |
Ver estándar |
|
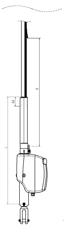
F
|
498 |
1 7' 39/64'' |
863 |
2 9' 31/32'' |
|
G
|
170 |
6' 11/16'' |
Ver estándar |
|
H máximo
|
400 |
1 3' 3/4'' |
765 |
2 6' 1/8'' |
|
I
|
196 |
7' 3/4'' |
Ver estándar |
|
J
|
72 |
2' 53/64'' |
Ver estándar |
|
K
|
47 |
1' 27/32'' |
Ver estándar |
|
L estándar
|
491 |
1 7' 21/64'' |
856 |
2 9' 45/64'' |
|
L mini
|
419 |
1 4' 1/2'' |
784 |
2 6' 55/64'' |
|
M
|
75 |
2' 15/16'' |
Ver estándar |
|
N
|
23 |
29/32'' |
Ver estándar |
|
O
estándar
|
221 |
8' 45/64'' |
Ver estándar |
|
O
mini
|
149 |
5' 55/64'' |
Ver estándar |
|
P estándar
|
400 |
1 3' 3/4'' |
Ver estándar |
|
P mini
|
328 |
1 0' 29/32'' |
Ver estándar |
|
Q
|
310 |
1 0' 13/64'' |
Ver estándar |
|
R1
|
134 |
5' 9/32'' |
Ver estándar |
|
R2
|
94 |
3' 45/64'' |
Ver estándar |
|
S1
|
62 |
2' 7/16'' |
Ver estándar |
|
S2
|
182 |
7' 11/64'' |
Ver estándar |
|
T máximo
|
40 |
1' 37/64'' |
Ver estándar |
|
U estándar
|
462 |
1 6' 3/16'' |
Ver estándar |
|
U mini
|
390 |
1 3' 23/64'' |
Ver estándar |
|
V
|
133 |
5' 15/64'' |
Ver estándar |
|
W
|
94 |
3' 45/64'' |
Ver estándar |
|
X
|
61 |
2' 13/32'' |
Ver estándar |
|
Y
|
42 |
1' 21/32'' |
Ver estándar |
|
Z estándar
|
16485 |
54 1' 1/32'' |
16850 |
55 3' 25/64'' |
|
Z mini
|
16413 |
53 10' 3/16'' |
16778 |
55 0' 35/64'' |
|