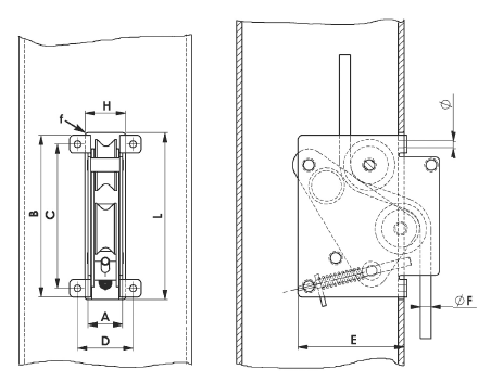
DIMENSIONES DEL FRENO DE LA DRIZA
Model0 H800 H1012 H1416
A (mm) 22 26 34
B (mm) 120 120 180
C (mm) 106,5 106,5 124 y 164
D (mm) 38 42 65
E (mm) 75 75 120
F (mm) 8 10 y 12 14 y 16
Peso (kg) 0,6 0,7 2,8

 

DIMENSIONES DEL CORTE DE MÁSTIL  
Model0 H800 H1012
H 26 30
L 124 124
Ø 5 5